红星资本局9月28日消息,针对近日大连万达集团股份有限公司(以下简称“大连万达”)及其法定代表人王健林等被限制高消费一事,红星资本局从万达知情人士处获悉,此事是“由于万达下属项目公司经济纠纷导致,事实上之前双方一直在通过多种方式协商解决,我们也正在了解具体情况,本次或是因在执行层面信息不对称导致。”
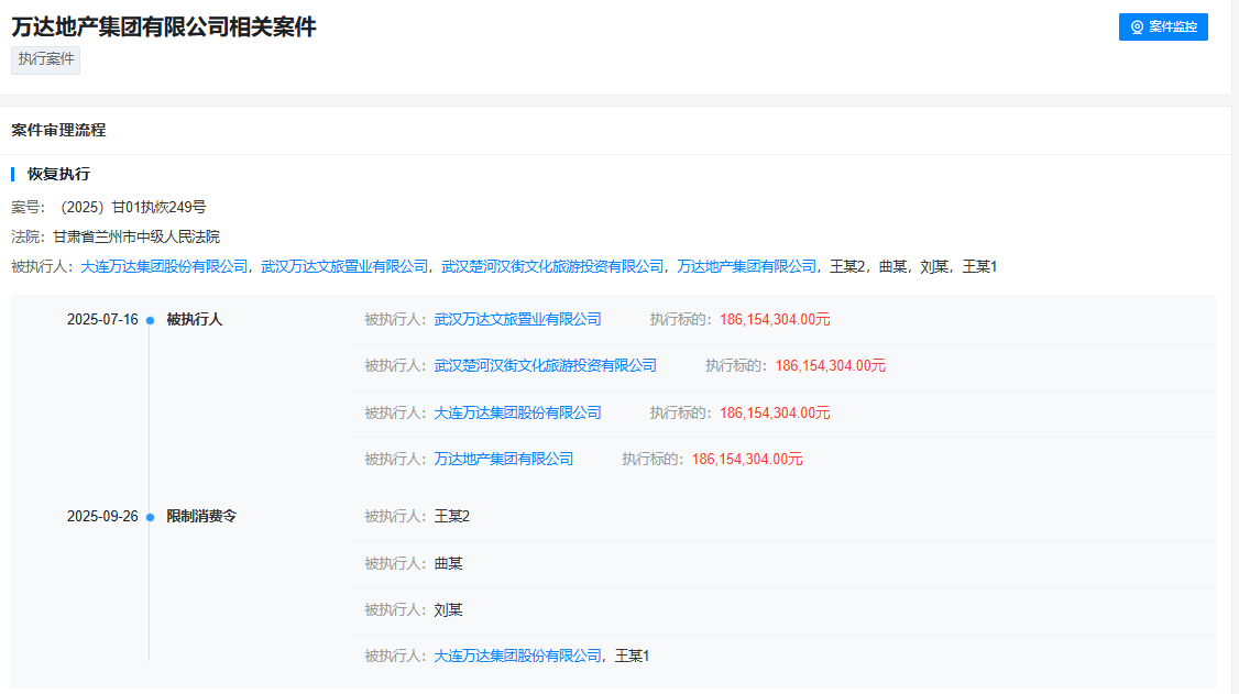
红星资本局通过天眼查App查询发现,相关案件执行标的为1.86亿元,执行法院为甘肃省兰州市中级人民法院,发布时期为9月26日,被执行人涉及武汉万达文旅置业有限公司、武汉楚河汉街文化旅游投资有限公司、大连万达集团股份有限公司、万达地产集团有限公司。

图据天眼查App
另据中国执行信息公开网,上述案件立案日期为今年7月16日。

图据中国执行信息公开网
天眼查显示,大连万达成立于1992年9月,法定代表人为王健林,注册资本10亿元,经营范围包括商业地产投资及经营、酒店建设投资及经营、连锁百货投资及经营、电影院线等文化产业投资及经营;货物进出口、技术进出口、国内一般贸易等。股东信息显示,该公司由大连合兴投资有限公司、王健林共同持股。风险信息显示,该公司现存11条被执行人信息,被执行总金额超52亿元。此外,大连万达所持多家公司股权已被冻结。
据天眼查显示,截至目前,大连万达已有10条被执行人信息,总金额52.62亿元,1条被限制高消费信息,同时还有38条“股权冻结”相关信息。此外,大连万达商业管理集团股份有限公司也有1条被执行人信息,被执行总金额295.9万元;万达地产集团有限公司有423条被执行人信息,被执行总金额共计18.4亿元,其中失信被执行人共4条,涉案总金额211.51万元。合计来看,万达系各公司的被执行总金额已经超过70亿元。
上一篇:画家举办大型个人画展展现艺术魅力
下一篇:白庚延:把黄河画“活”的画家